动态图库网
首页 > GIF动态图

啪啪Gif出处极品(2)

2021-01-27 来源:动态图库网

元气森林投资轻食赛道,轻食会成为餐饮业的又一

元气森林投资轻食赛道,轻食会成为餐饮业的又一

题组没有附上出处,经过多方查证,原来陆游是在《斋居纪事》写下如何

题组没有附上出处,经过多方查证,原来陆游是在《斋居纪事》写下如何

西安连云港全货运航线顺利首航

西安连云港全货运航线顺利首航

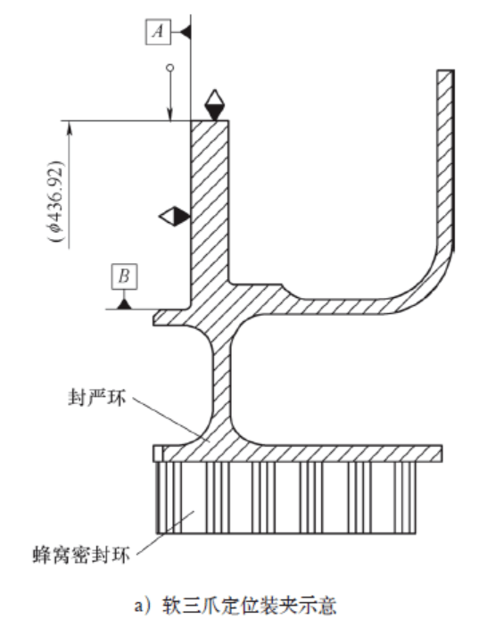
减小高压出口整流叶片内封严组件加工变形的工装方案

减小高压出口整流叶片内封严组件加工变形的工装方案

歼10野兽模式火力全开啪啪打脸

歼10野兽模式火力全开啪啪打脸

歼10野兽模式火力全开啪啪打脸

歼10野兽模式火力全开啪啪打脸

题组没有附上出处,经过多方查证,原来陆游是在《斋居纪事》写下如何

题组没有附上出处,经过多方查证,原来陆游是在《斋居纪事》写下如何