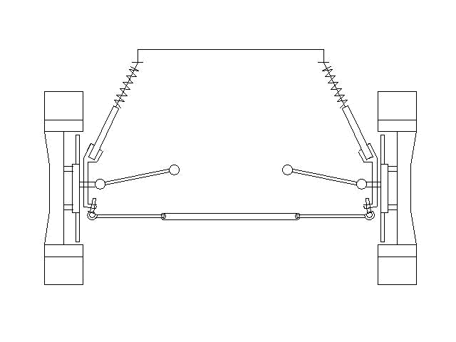
扭杆弹簧工作原理动图(2)
2021-12-12 来源:动态图库网

健身房再发命案,请停止这种无知的"杀人"行为!_杠铃
另外一个就是驱动形式的原因,其实四轮独立悬架也算是挺有良心,还有
扭力梁形变示意,长得和上图不太一样,脑补理解一下) 别看避震器和弹簧
低价供应:扭转弹簧,双扭簧,扭簧,小扭簧,定做扭簧
汽车平顺性时域仿真分析
【物理原理】这些物件是如何工作的,揭开它们的工作原理!
型号表示举例 tgb系列 (1) 系列 (2) 尺寸 (3) 弹簧强度: l=弱强度
汽车各个零部件工作原理动图
为了减重,锋范在扭转梁的附件上面做了不少空洞,同时也没有对悬架的
靠近底部的扭力弹簧转轴的转动幅度较小,角度应该在30°到45°之间.
其次,加粗防倾杆这件事,一定要配合刚度更高的弹簧进行,否则会适得其
扭力梁悬挂
不过需要强调的是:当两根弹簧同时工作的时候,其总刚性系数会比扭力杆
第二个扭力弹簧转轴的幅度较大,角度接近180°.