动态图库网
首页 > GIF动态图

手铐结构图

防拨手铐

男人必看影院  正能量网站入口  日本正能量视频  

防拨手铐

cn208416203u_一种通用钥匙离合锁芯结构及手铐有效

麻豆影视大片  正能量网站入口  正能量网站入口  

cn208416203u_一种通用钥匙离合锁芯结构及手铐有效

新品上市|纳丽德双链金属手铐,牢固加倍,约束力更强(组图)

国产男人的天堂  麻豆约拍  无码影院  

新品上市|纳丽德双链金属手铐,牢固加倍,约束力更强(组图)

正品手铐哪里有卖

晚上看的视频  日本正能量视频  日本正能量视频  

正品手铐哪里有卖

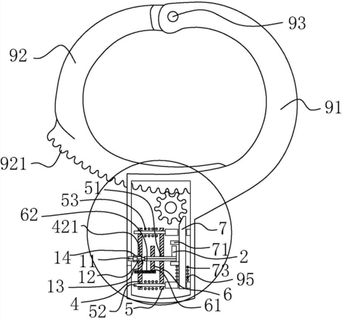
警用手铐的制作方法

没封的正能量网站  男人必看影院  日本正能量视频  

警用手铐的制作方法

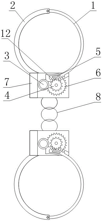
以上目的,本实用新型采用的技术方案是:一种多功能押解器,包括手铐(1)

日本正能量视频  正能量网站入口  正能量网站入口  

以上目的,本实用新型采用的技术方案是:一种多功能押解器,包括手铐(1)

我是110,要报警!我这有个手铐解不开了

你懂的影院  麻豆影视大片  男人必看影院  

我是110,要报警!我这有个手铐解不开了

公安部新列装的单警金属手铐

没封的正能量网站  正能量网站入口  日本正能量视频  

公安部新列装的单警金属手铐"新"在哪里?_结构

一种安全手铐装置的制作方法

正能量网站入口  麻豆影视大片  你懂的影院  

一种安全手铐装置的制作方法

cn201011249y_手铐的改良结构失效

麻豆约拍  麻豆约拍  麻豆约拍  

cn201011249y_手铐的改良结构失效

新型金属脚镣的制作方法

麻豆约拍  你懂的影院  日本正能量视频  

新型金属脚镣的制作方法

手铐3d模型

日本正能量视频  男人必看影院  正能量网站入口  

手铐3d模型

一种电动脚,手铐制造技术

日本正能量视频  日本正能量视频  无码影院  

一种电动脚,手铐制造技术

手铐的外观样式,由三个锁定结构.两边手铐的锁定和中间的中心锁.

无码影院  日本正能量视频  国产男人的天堂  

手铐的外观样式,由三个锁定结构.两边手铐的锁定和中间的中心锁.

单警手铐

国产男人的天堂  正能量网站入口  你懂的影院  

单警手铐

手铐

没封的正能量网站  男人必看影院  无码影院  

手铐