数控机床电主轴
2022-03-09 来源:动态图库网

数控机床主传动系统的维修与调试
数控机床中心电主轴
电主轴:制约我国数控机床发展的软肋
机床主轴常用轴承_机床主轴轴承安装_数控机床主轴的结构
数控车床机械主轴单元的轴承布置结构
数控机床的机械主轴和电主轴结构图解比较
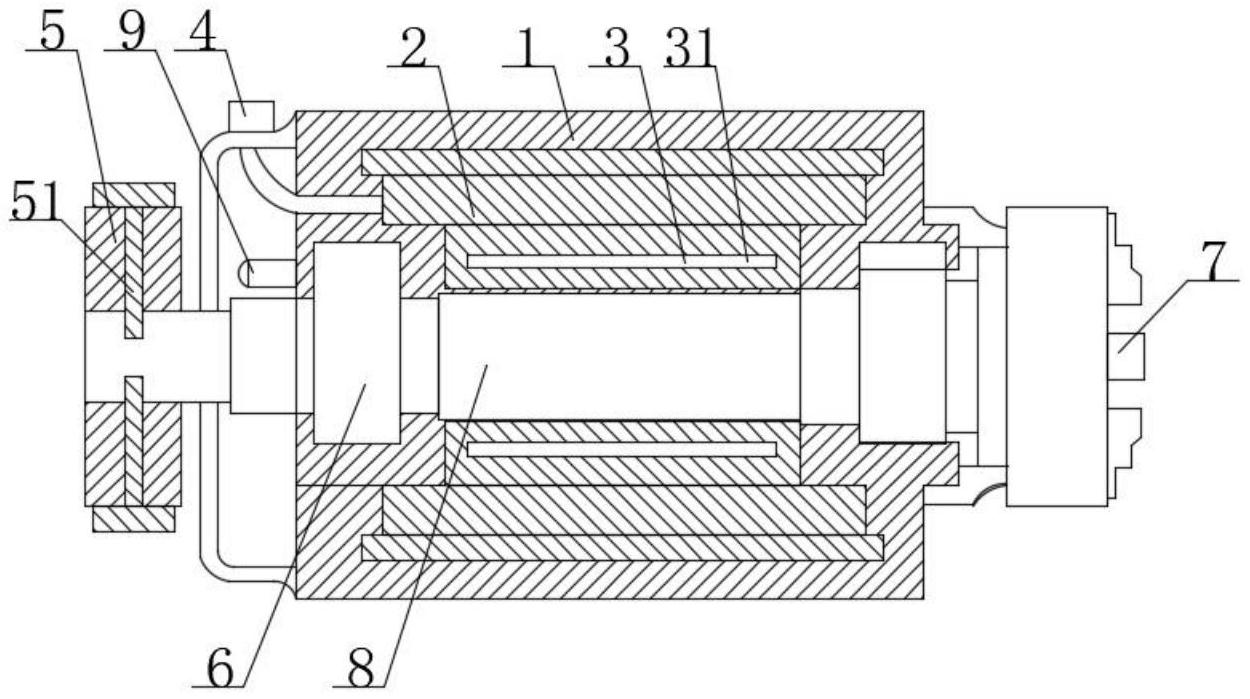
cn213163090u_一种数控机床的电主轴
振宇侧孔机22kw电主轴er20主轴电机雕刻机配件数控机床动力头
双头数控车 上海双主轴自动对接数控车床 江苏双主轴数控车床
数控机床主轴
数控机床中心电主轴
供应电主轴
数控机床中心电主轴
数控车床电主轴 数控车床机械轴-电主轴-主轴-机床
数控机床
供应高转数电主轴德国品牌jager数控机床cnc精雕机高速电主轴