过滤网简笔画(2)
2022-03-09 来源:动态图库网

一种过滤器制造技术,管道过滤器的种类专利_技高网
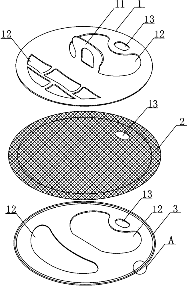
过滤网组件及空调器的制作方法
细胞过滤器制造技术,细胞过滤器使用专利_技高网
小学过滤装置图简笔画 简笔画图片大全-蒲城教育文学网
蜂窝过滤器的制造方法与工艺
然后我们用线条勾勒出羽毛球拍的网格接下来我们画出羽毛球拍的把手
抓鱼网兜简笔画
空调器及其空气过滤装置的制作方法
不锈钢水槽过滤网 水池漏槽 浴缸毛发防塞网 排水口隔渣网
过滤器简笔画 简笔画图片大全-蒲城教育文学网
创意厨房卫浴室地漏过滤网 吸盘式排水口水槽毛发滤网
过滤器滤芯
cn204049292u_茶杯内嵌式金属过滤器有效
一种过滤器制造技术,管道过滤器的种类专利_技高网